¿Regresa una de las deportivas más icónicas de Honda con un motor V4?
Honda presentó una propuesta que podría reeditar una histórica moto. ¿Qué se sabe sobre su posible retorno? Te contamos los detalles.

Honda podría traer al presente una histórica moto deportiva para alegraría a varios usuarios: la VRF800, un modelo histórico del fabricante japonés que estaría equipado con un motor V4 en desarrollo.
El posible regreso de esta icónica motocicleta que se fabricó durante 36 años -entre 1998 hasta 2022, con distintas evoluciones a través de varias generaciones (como la 1998-2001 y modelos posteriores como la VFR800F y VFR800X)- surge a partir de una solicitud de patente presentada por la marca del ala dorada.
No te pierdas nada del mercado de las motos → Seguinos en Google!
¿Qué se sabe sobre el posible retorno de la Honda VRF800?
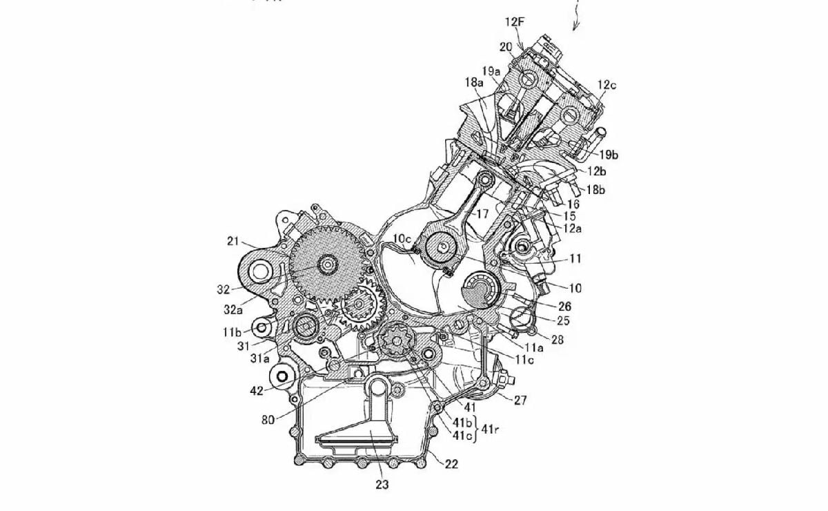
Las últimas filtraciones apuntan a que la firma japonesa está preparando una nueva generación de la VFR esté más cerca de lo que se esperaba. Las imágenes registradas ante la autoridad competente muestran lo que parece ser un motor V4 nuevo de última generación. Con una apariencia compacta y una disposición que recuerda a las configuraciones clásicas de 750 y 800 cc, la marca parece encaminarse hacia una reinterpretación moderna.

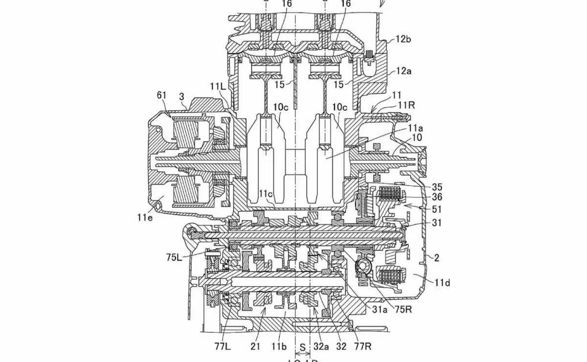
Según las publicaciones, las patentes presentadas por Honda revelan aspectos fundamentales del diseño del motor. Una de ellas protege un innovador circuito de aceite destinado a reducir la fricción interna en las bombas, mejorando la eficiencia general.
Además, la marca del ala dorada registró un nuevo método para unir la culata al cárter, ilustrado en los documentos con un motor bicilíndrico en línea que representa, en realidad, la mitad del futuro V4.
La segunda patente se centra en el sistema de refrigeración. Honda propone un esquema que prioriza la disipación de calor en la bancada trasera, empleando conductos en la V entre los cilindros. Según estos registros, esta solución permitiría mejorar la estabilidad térmica en situaciones de alta exigencia. La lubricación también juega un papel central, con depósitos auxiliares integrados en la carcasa principal para proteger elementos como el alternador, el motor de arranque, la bomba de agua y el embrague.
Honda patea el tablero y le baja el precio a su moto custom de 500 cc: ¿cuánto cuesta?
¿El próximo motor V4 de Honda no tendrá cardán?

Una de las diferencias más notables en comparación a la VFR1200 reside en la transmisión. La patente indica que la marca del ala dorada prescindió del cardán, un rasgo característico de aquella generación, para volver a la tradicional transmisión por cadena usada durante décadas en las versiones de la saga VFR.
En cuanto a la configuración del motor, los documentos dar lugar a algunas interpretaciones. El último gran V4 de Honda, el de la VFR1200, utilizaba un ángulo de 76 grados y muñequillas descentradas 28 grados, lo que generaba un orden de encendido particular. Sin embargo, podría existir un esquema más cercano a los 90 grados empleado por los motores de 750 y 800 cc, aunque sin confirmación absoluta. En cualquier caso, se trata de un planteamiento que podría ofrecer una experiencia más cercana a las raíces del modelo y un comportamiento sonoro distintivo frente a otros V4 del mercado.
Por el momento, la información oficial aún es limitada y la marca no se expresó sobre el posible regreso de la VFR. Con las patentes presentadas en mayo de 2024 y su divulgación a finales de 2025, la fase actual del proyecto sugiere que la marca todavía necesita tiempo para materializar un prototipo. No sería extraño que, a lo largo de la próxima temporada, aparecieran nuevos indicios o incluso una primera versión conceptual del modelo.

La pregunta inevitable es cuándo veremos este nuevo motor V4 en un modelo de producción. Si Honda sigue los plazos habituales tras la publicación de una patente, el desarrollo final podría prolongarse durante al menos dos años. No obstante, el nivel de detalle mostrado indica que la ingeniería ha avanzado más allá de una simple propuesta teórica.
La casa del ala dorada impulsó durante décadas el concepto V4, una arquitectura que marcó su identidad entre 1982 y 2020. Su posible regreso no solo supondría recuperar una parte esencial de su historia, sino también reactivar una de las sagas más queridas por los aficionados. La filtración de este nuevo motor V4 abre la puerta a una VFR de nueva generación que, de confirmarse, podría convertirse en uno de los lanzamientos más esperados del panorama motociclista.
La VFR, que parecía despedida para siempre, podría estar preparándose para volver. Y esta vez, con un corazón V4 renovado y diseñado para volver a situarla donde siempre estuvo: entre las deportivas icónicas de Honda.

