¿Se viene una moto Toyota? La marca japonesa prepara un modelo urbano
Toyota presentó las patentes de un nuevo modelo Scooter propulsado por hidrógeno ¿Qué se sabe al respecto?

Desde hace algún tiempo, en el mundo de la movilidad, Toyota se destaca por buscar alternativas combustibles ante los sistemas de propulsión eléctrica que siguieron otras marcas. En este sentido, ahora, está acelerando el proceso con nuevas patentes que se centran en el desarrollo de un Scooter propulsado por Hidrógeno.7
La patente que presentó Toyota, se basa en el diseño y la tecnología del Scooter Suzuki Burgman, también impulsado por un motor de combustión de hidrógeno. Este modelo tiene su origen a mediados de la década del 2000, y se presentó en su versión de combustible fósil tradicional en el Salón del Automóvil de Tokio del 2011.
De esta forma, la marca japonesa mantiene su enfoque en el combustible, que convierte el hidrógeno en electricidad mediante la reacción con el oxígeno atmosférico, produciendo únicamente vapor de agua como gas residual. Este mecanismo, deja fuera de juego a los gases contaminantes.
No te pierdas nada del mercado de las motos → Seguinos en Google!
Yamaha y Toyota unen fuerzas al presentar un modelo urbano para romper con todos los esquemas: ¿qué tiene de especial?
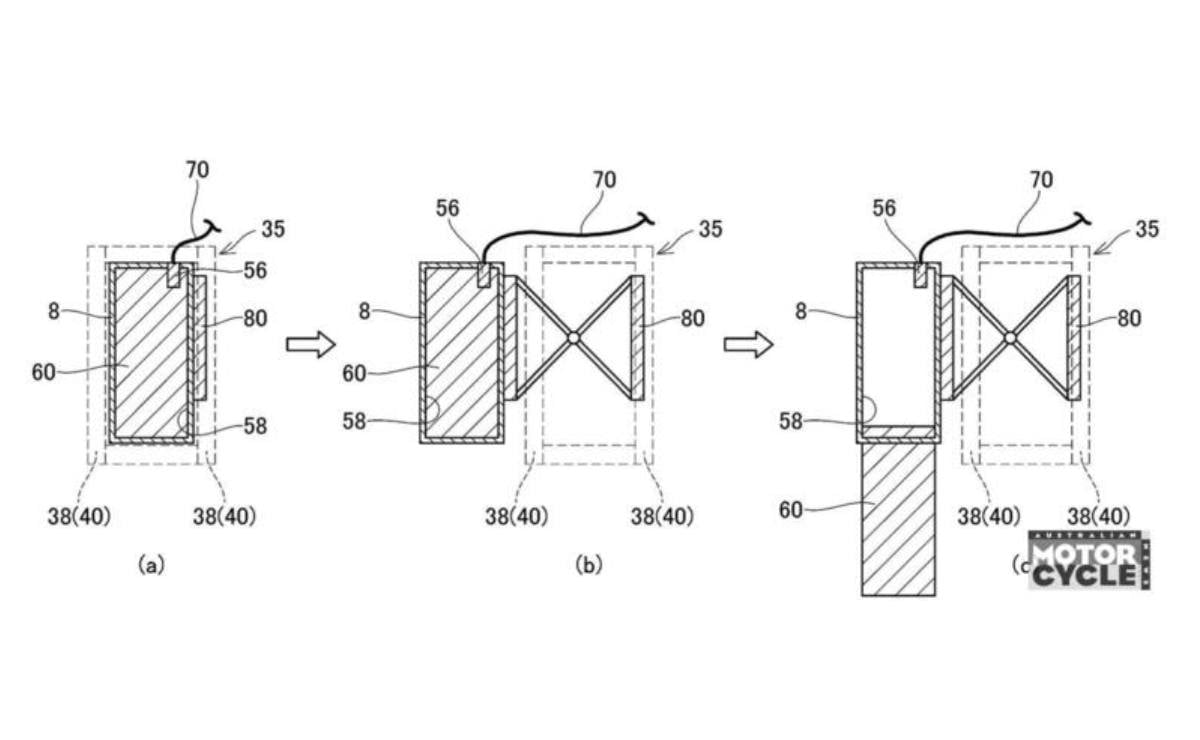
Así es la patente del proyecto de Scooter a hidrógeno de Toyota
En el documento técnico presentado a la hora de ingresar la patente, registrado en Japón, no presenta un proyecto de producción propiamente dicho, sino un concepto de un Scooter con celdas de combustible que usa hidrógeno mediante un sistema de cambio de depósitos (tubos). En lugar de cargar gas a alta presión, el sistema diseñado cuenta con depósitos intercambiables muy fácilmente. El conductor simplemente desconectaría un depósito vacío e instalaría uno lleno en su lugar, replicando la experiencia de cambiar una batería, pero en este caso con combustible gaseoso.

El diseño del depósito busca solucionar un problema común en los prototipos de varios vehículos a hidrógeno. En esos casos, está integrado a la estructura central del vehículo, lo que reduce el centro de gravedad, sin embargo, esta solución dificulta el acceso y el recambio. Toyota lo que propone es montar el depósito en un soporte articulado que pueda girar hacia un lateral del Scooter, facilitando así el almacenamiento.
Existen al menos dos opciones para este ‘movimiento’ que busca generar Toyota en su diseño: una es una versión con bisagra frontal que permite que el deposito sobresalga hacia el lateral del vehículo, y otro modelo con un brazo articulado que lo mueve hacia afuera, en paralelo al contorno del Scooter, de manera controlada.
Según la patente, el Sistema de ‘cartuchos’ reemplazables (pueden ser tubos, en su modelo final, o algún otro soporte que acepte el gas en su interior) es especialmente adecuado para celdas de combustible, ya que garantiza una mayor eficiencia y una autonomía superior a la de los motores de combustión de hidrógeno, sin generar emisiones de dióxido de nitrógeno.
Además, el uso de contenedores sellados (cartuchos, tubos, etc.) reduce el riesgo de que entren contaminantes al sistema en general, protegiendo los delicados componentes de las celdas y manteniendo la calidad del gas durante el repostaje.
¿Cuándo podría incluir Toyota este Scooter entre sus productos?
Lo primero que tenemos que mencionar, como ya lo hicimos en este artículo, es que esta patente es sobre un concepto y no sobre un vehículo propiamente dicho. No hay indicios de que Toyota vaya a incluir un scooter de hidrógeno en su gama de productos, pero el proyecto demuestra un interés constante por extender su visión de una ‘sociedad del hidrógeno’ a la micromovilidad urbana.

A largo plazo, la patente deja abierta la posibilidad de que, en algunos mercados, los Scooters puedan coexistir con las baterías recargables, utilizando el hidrógeno como fuente de energía alternativa para vehículos de dos ruedas.


